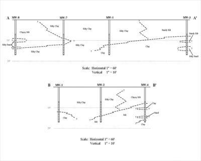
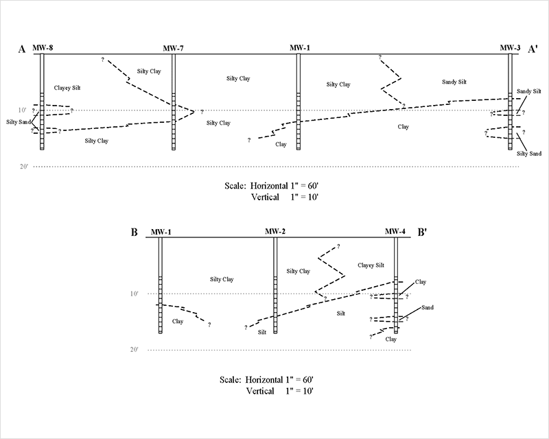
An environmental site investigation (Phase II) is conducted to assess the presence, type, and extent of contamination in soil, soil gas, and/or groundwater. Site-specific characteristics such as geology, depth to groundwater, and other site features are also evaluated at this phase. This data will be used to develop cost-effective and efficient remediation strategies, if needed.

- Underground storage tank sites
- Aboveground storage tank sites
- Automotive repair shops
- Dry cleaners
- Metal plating shops
- Manufacturing facilities
- Refineries
- Other contaminated sites
GRI can prepare the required work plans and summary reports, coordinate with subcontractors, obtain necessary permits, communicate with regulatory agencies, and provide other technical support.
To discuss your project or request a proposal, please contact us →
